|
Y型過濾器概述 Y型過濾器是輸送介質的管道系列不可缺少的一種裝置,通常安裝在減壓閥、泄壓閥、定水位閥或其它設備的進口端,用來消除介質中的雜質,以保護閥門及設備的正常使用。該過濾器具有結構先進,阻力小,排污方便等特點。適用介質可為水,油、氣。可按用戶要求制作濾網,其外型基本相同(Y型),內部件全部采用不銹鋼,堅固耐用。當需要清洗時,只要將可拆卸的濾筒取出,去除濾出的雜質后,重新裝入即可,使用維護極為方便。該過濾器體形小、濾眼細、阻力小、效果高、安裝檢修方便、成本低、并排污時間短,對一般小型號者,只需5-10分鐘。一般通水網為18-30目/cm2,通氣網為40-100目/cm2,通油網為100-300目/cm2。
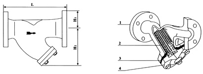
Y型過濾器外形尺寸

|
公稱通徑 |
L |
H |
H1 |
|
DN20 |
155 |
100 |
150 |
|
DN25 |
160 |
100 |
150 |
|
DN32 |
180 |
110 |
160 |
|
DN40 |
200 |
115 |
170 |
|
DN50 |
230 |
155 |
195 |
|
DN65 |
220 |
200 |
270 |
|
DN80 |
250 |
210 |
295 |
|
DN100 |
305 |
250 |
345 |
|
DN125 |
350 |
305 |
425 |
|
DN250 |
480 |
360 |
485 |
|
DN200 |
500 |
450 |
605 |
|
DN250 |
550 |
505 |
710 |
|
DN300 |
600 |
580 |
815 |
|
DN350 |
700 |
600 |
845 |
|
DN400 |
780 |
620 |
875 |
|
DN450 |
850 |
700 |
980 |
|
DN500 |
900 |
765 |
1080 |
正封牌Y型過濾器分類說明
本過濾器, 有, , , , , 殼體、排污蓋、濾芯、濾網等組成。網眼總面積是入口管首截面積的3-4倍. 用于管道清除輸送介質:熱水、冷水、蒸汽、壓縮空氣各種機械雜質,特別是鍋爐房循環水泵前均需安此產品,為了清除系統中的機械雜質,使設備和管道免受堵塞和磨損,, , 在額定流速下壓損為0.05-0.1米水柱。 用于各種用汽設備,如:蒸汽儀表、疏水閥,壓縮空氣和各類, 用汽設備前均需安裝。在額定流速下壓損為0.05-0.2米水柱。 油過濾器該主品濾眼密度有多種。例如:64孔、200孔、300孔/Cm2。用于各種輸油管道上一切設備。例如:油泵、油鍋爐前均需安裝,在額定流速下壓損為0.05-0.1米水柱。
|
DN |
"英寸 |
L |
H |
H1 |
拉桿伸縮過濾器 |
參考重量kg |
|
15 |
1/2 |
125 |
70 |
150 |
L |
H |
2 |
|
20 |
3/4 |
145 |
70 |
150 |
|
|
3 |
|
25 |
1 |
160 |
80 |
160 |
|
|
3.8 |
|
32 |
1 1/4 |
180 |
90 |
180 |
|
|
6 |
|
40 |
1 1/2 |
200 |
100 |
240 |
|
|
7.2 |
|
50 |
2 |
220 |
130 |
250 |
300 |
130 |
10 |
|
65 |
2 1/2 |
260 |
165 |
350 |
350 |
165 |
17 |
|
80 |
3 |
280 |
195 |
390 |
400 |
195 |
20 |
|
100 |
4 |
320 |
230 |
450 |
450 |
230 |
32 |
|
125 |
5 |
350 |
300 |
520 |
500 |
300 |
53 |
|
150 |
6 |
380 |
335 |
580 |
550 |
335 |
66 |
|
200 |
8 |
495 |
420 |
690 |
650 |
420 |
110 |
|
250 |
10 |
595 |
500 |
800 |
775 |
500 |
165 |
|
300 |
12 |
640 |
580 |
950 |
900 |
580 |
225 |
|
350 |
14 |
700 |
640 |
1150 |
|
|
312 |
|
400 |
16 |
800 |
700 |
1360 |
|
|
500 |
|
450 |
18 |
850 |
790 |
1480 |
|
|
700 |
|
500 |
20 |
900 |
875 |
1650 |
|
|
900 | |